本该2022年10月开业的鲁商银龙广场,却一直“爽约”至今。前不久,关于鲁商银龙广场更名为银座茂新辰天地的消息不胫而走,引起不少市民关注。记者获悉,该项目确已更名,内部正在装修和招商,预计年底前开业。
建成两年却迟迟未开业
“鲁商银龙广场建成两年了,为什么一直没投入使用呢?”谈到“家门口”的鲁商银龙广场,两年来,济南市民李阳途径于此时总有疑惑。

鲁商银龙广场地处历城区经十东路与唐冶中路西北角,原计划由银座集团与红星美凯龙合作建设居家主题生活场景式购物中心。
2022年项目建成后,却迟迟没有开业,商业业态也由居家主体式的定位变成了集百货、超市、建材、家具、餐饮、休闲娱乐于一身的大型城市综合体,建筑面积17.8万平方米。
除此之外,该项目还规划建设4栋高层、超高层商务办公楼以及2栋高层公寓楼。
记者查询发现,早在2021年6月,鲁商银龙广场就对外官宣签约了家家悦、星巴克、必胜客、阿迪达斯、周大生等20余家主力品牌,预计将于2022年10月开门纳客。

两年时间过去,该项目却一直原地踏步,“爽约”至今。截至目前,只有其所属的鲁商天街区域有超意兴、德兴顺、老胖串店、沪上阿姨等不少餐饮商户入驻。
从去年开始,包括希尔顿惠庭酒店在内的多家酒店开始陆续入驻银龙广场北侧公寓楼。除此之外,大部分区域仍处于未投入运营状态。
从规模上来看,银龙广场属于济南市历城区唐冶片区最大的商业项目;从交通便利上来看,地铁2号线(换乘516、517、265)以及在建的地铁4号线、8号线两条地铁环绕,西侧隔着刘公河就是唐冶公交枢纽;从地理位置上看,紧靠经十东路、唐冶中路,且周围住宅小区、产业园区众多,能够辐射唐冶、神武、雪山、彩石、孙村,乃至章丘圣井在内的多个片区。
因此,鲁商银龙广场自落地伊始就吸引了不少市民关注,在多个政府留言板上可以看到市民咨询鲁商银龙广场开业时间的相关留言。
更名为银座茂新辰天地 预计年底前开业
前不久,关于鲁商银龙广场更名为银座茂新辰天地的消息不胫而走,成为不少市民关注的焦点。

近日,银座集团股份有限公司官网发布《银座茂新辰天地局部改造工程监理项目竞争性磋商公告》。公告中显示,项目位于济南市历城区唐冶中路5199号。记者在地图软件上搜索发现,此位置正是鲁商银龙广场所在位置。
而此前曾有市民通过12345市民热线咨询济南市历城区关于银龙广场开业信息。对此,济南市历城区政府在2024年3月12日曾回复,唐冶街道银龙广场现更名为银座某某新天地,由银座和北京某公司合作运营,目前在积极招商,2024年10月份左右投入使用。
6月28日,记者联系了该商业体所在的济南市历城区唐冶街道办事处招商部门。“确实是改成银座茂新辰天地了。”工作人员告诉记者,商场由银座集团和北京新辰商业集团合作运营,内部正在装修和招商,预计年底前开业。
与此同时,银座茂新辰天地招商规划手册在社交平台开始流传。网传图中显示,该商业体将打造“商业盒子+开放街区”的业态,涵盖绿地、退台、景观走廊、休闲街区、屋顶花园等综合形态。

新运营商为何方神圣?
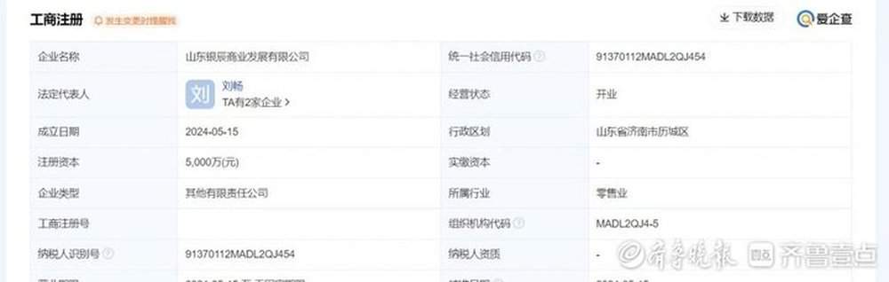
招标信息显示,本次局部改造工程的招标人是山东银辰商业发展有限公司,规模约10.9万㎡,涵盖设计、监理及改造工程,投资估算约6216.5万元。

根据爱企查平台信息,山东银辰商业发展有限公司于2024年5月15日注册成立,股东为山东银座商城股份有限公司与北京新辰商业集团有限公司,持股比例分别为51%和49%。


据了解,北京新辰商业集团有限公司是专注经营时尚品质型购物中心、社区型商业、品牌超级折扣集合店等多种新零售模式商业,核心特色包含全渠道数字一体化经营、自营及单品管理系统、业态规划及品类管理等。
银座茂新辰天地是北京新辰商业集团有限公司进驻山东市场的第二站,首站落户于潍坊市奎文区,将于今年9月28日开门纳客。值得注意的是,潍坊新辰天地是潍坊首个“Mall+Block”双模商业时尚购物中心,也是山东省重点项目,其所属城市更新项目的总投资达100亿元。从官方公布已经签约的商户中来看,不乏多家首次进驻潍坊市的首店品牌,例如盒马鲜生、CHUU、一池有三、COACH、MICHAEL KORS等,展现了不容小觑的招商实力。
目前,新辰商业集团旗下拥有新辰里、新辰天地、毕淘买生活广场、B.P.maxx、CW新零售等多个品牌,涉及购物中心及深夜食堂等业态。