娃哈哈集团法定代表人仍未变更,宗馥莉已接手20多家娃哈哈系公司
2024-07-18 16:33:57 来源:海报新闻
7月18日上午,网络流传一张关于娃哈哈集团总经理宗馥莉辞职信的截图。对此,海报新闻记者向杭州市上城区政府、娃哈哈集团第一大股东杭州市上城区文商旅投资控股集团有限公司分别进行了求证,他们均表示:“暂未收到该信息,具体情况应以集团官网为准”。
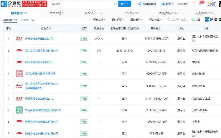
据企查查APP显示,目前,杭州娃哈哈集团有限公司仍由宗庆后担任法定代表人并持股29.4%,该公司大股东为杭州上城区文商旅投资控股集团有限公司,持股46%,杭州娃哈哈集团有限公司基层工会联合委员会(职工持股会)对该公司持股24.6%。
今年以来,宗馥莉接任杭州娃哈哈电子商务有限公司、浙江启力投资有限公司、杭州宏胜营销有限公司等20余家公司法定代表人职务,但随后又卸任其中贵阳娃哈哈昌盛饮料有限公司、贵阳娃哈哈食品有限公司等公司法定代表人职务。在宗馥莉接任法定代表人职务的公司中,浙江启力投资有限公司、杭州娃哈哈宏振投资有限公司、杭州娃哈哈电子商务有限公司等注册资本较大。据统计,宗馥莉目前共间接持股4800余家公司,其中大多为娃哈哈系公司或由娃哈哈参投的公司。
海报新闻记者注意到,企查查APP数据显示,已经去世的宗庆后仍是97家公司的法定代表人,其法定代表人身份仍未变更,其中包括杭州娃哈哈集团有限公司、浙江娃哈哈数字科技有限公司、娃哈哈商业股份有限公司、杭州娃哈哈食品有限公司等。

